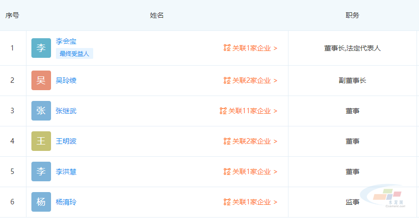
3月10日,山东山水水泥集团有限公司(以下简称“山水水泥”)主要成员发生变更,法定代表人从常张利变更为李会宝。同时,董事长常张利、监事刘祖亮退出,新增董事长李会宝,董事张继武、李洪慧、监事杨淯玲。

据悉,山水水泥成立于2001年8月10日,公司注册资本36.33亿元人民币。公司经营范围包括水泥、水泥制品、建筑材料、轻质建材、水泥设备、砼结构构件、建筑涂料、石灰、预拌砂浆、矿渣微粉、混凝土复合矿物掺合料、预拌商品混凝土的设计、生产等。
3月10日,山东山水水泥集团有限公司(以下简称“山水水泥”)主要成员发生变更,法定代表人从常张利变更为李会宝。同时,董事长常张利、监事刘祖亮退出,新增董事长李会宝,董事张继武、李洪慧、监事杨淯玲。

据悉,山水水泥成立于2001年8月10日,公司注册资本36.33亿元人民币。公司经营范围包括水泥、水泥制品、建筑材料、轻质建材、水泥设备、砼结构构件、建筑涂料、石灰、预拌砂浆、矿渣微粉、混凝土复合矿物掺合料、预拌商品混凝土的设计、生产等。