据微信公众号“阜新宣传”,7月4日,阜新市委、市政府发现阜新弘霖煤矿发生安全生产事故的相关线索后,高度重视,立即成立调查组,组织煤管、应急、公安等部门及属地海州区进驻煤矿开展核实调查。
经初步核定,该煤矿于6月27日发生事故,造成7人死亡、7人轻伤,受伤人员正在医院治疗且伤情稳定。事故发生后,矿方蓄意瞒报。目前,阜新市已经成立调查处置领导小组,下设调查工作组、侦查工作组、社会稳定工作组等,全面开展相关工作。公安机关已对此事立案,并对相关责任人采取强制措施,各项侦查调查工作正在深入开展。

据辽宁发布,接到阜新市报告后,辽宁省委书记郝鹏第一时间作出批示,要求严肃查处该起瞒报事故,从严追究有关方面的责任;要总结教训、举一反三,坚决进行整改,杜绝涉煤重大事故的发生;全省隐患专项排查整治要扎实进行,绝不放过任何一个风险隐患。
7月5日,受省委书记郝鹏委托,辽宁省委副书记、省长李乐成赶赴阜新市,就弘霖煤矿瞒报安全生产事故现场办公,指导督导阜新市及相关部门依法从严从实从快开展调查处置工作。
在现场办公会上,李乐成听取当地及相关部门事故调查情况汇报,他指出,要提级调查,省委省政府成立调查组,由省委常委、副省长王健任组长。他强调,阜新市及相关部门要本着对党和人民高度负责的态度,坚持依法依规、实事求是,发扬斗争精神,提速加力、从严从实从快开展事故调查处置,彻查事故原因,严肃追究责任,对事故处置中存在的失职渎职和作风问题、腐败问题,发现一起、查处一起,一查到底,决不姑息迁就。要总结教训、系统整治,深入解剖事故暴露的突出问题,逐一解决、逐项整改,坚决做到“不贰过”。要妥善做好安抚安置等善后工作,及时准确、公开透明发布信息,有效回应社会关切,确保社会大局稳定。
据界面新闻报道,阜新弘霖煤矿即阜新弘霖矿业(集团)有限公司(下称阜新弘霖矿业公司)下属煤矿。该公司成立于2003年6月,主要从事煤炭开采和洗选业。
企查查APP显示,蹇玉忠和蹇玉华分别持有阜新弘霖矿业公司82.27%和12.73%的股权,王立强为法定代表人。蹇玉忠同时还是阜新弘霖煤炭销售有限公司、阜新德佳液压机械制造有限公司等企业的控股股东。

根据国家矿山安监局督查组2021年11月发布的信息,弘霖煤矿位于阜新市海州区,可采储量539.3万吨,核定年生产能力45万吨,为高瓦斯矿井,煤尘具有爆炸性。
辽宁省发改委最新公布的省内煤矿生产能力公告显示,截至2022年底,阜新弘霖煤矿生产能力仍为45万吨/年。
据界面新闻,2020年以来,阜新弘霖矿业公司被行政处罚11次,共涉及金额共169.9万元,事由包括设备设施类违法、事故隐患类违法、安全管理违法、规章制度类违法。
其中,2022年11月,因同时涉及设备设施类违法、事故隐患类违法,国家矿山安全监察局辽宁局监察执法三处对该公司给予警告,罚款10.6万元。
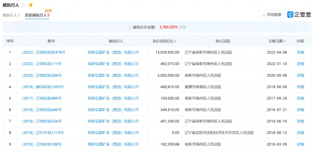
此外,企查查显示,2016年以来,阜新弘霖矿业公司成为历史被执行人9次,涉及金额2100多万元,还曾是失信被执行人。

与此同时,阜新弘霖煤矿曾多次被政府相关单位点名批评。
2021年12月,阜新市煤炭工业转型发展局发布的消息提到,从2021年初至今,弘霖煤矿在安全监控系统上多次出现甲烷和一氧化碳超限,说明煤矿在瓦斯治理和管理等方面还存在一定差距。

据中国煤炭报,2021年11月,国家矿山安监局督查组点名批评了综合督查中发现问题的煤矿,其中包括阜新弘霖煤矿。
督查组报告提及,在沿途检查中,发现该煤矿矿井下的带式输送机管理、设备设施检测检验不到位,停送电作业、运输管理不规范,防治水管理不到位,技术管理不严格等问题。
此外,督查组还发现相邻矿井的突出煤层在未鉴定完毕的情况下,正在作业的中间层煤层未按照突出煤层管理,也未采取防突措施。




新手指南
我是买家
我是卖家

